航天节能 | 双马电站智慧运维系统——助力管理提质增效
航天节能 | 双马电站智慧运维系统——助力管理提质增效
- 作者:四川双马项目
- 来源:问鼎娱乐下载
- 发布时间:2023-07-28 09:14
- 访问量:
【概要描述】四川双马宜宾电力能源有限公司(简称双马电站)纯低温余热电厂位于珙县巡场塘坝,成立于2005年1月,是问鼎娱乐下载(简称航天节能)下属项目公司,由航天节能运营管理的BOT资源综合利用余热电厂,是西南地区第一座水泥余热发电厂,为双马珙县水泥厂提供环保节能服务。
航天节能 | 双马电站智慧运维系统——助力管理提质增效
【概要描述】四川双马宜宾电力能源有限公司(简称双马电站)纯低温余热电厂位于珙县巡场塘坝,成立于2005年1月,是问鼎娱乐下载(简称航天节能)下属项目公司,由航天节能运营管理的BOT资源综合利用余热电厂,是西南地区第一座水泥余热发电厂,为双马珙县水泥厂提供环保节能服务。
- 分类:新闻中心
- 作者:四川双马项目
- 来源:问鼎娱乐下载
- 发布时间:2023-07-28 09:14
- 访问量:
四川双马宜宾电力能源有限公司(简称双马电站)纯低温余热电厂位于珙县巡场塘坝,成立于2005年1月,是问鼎娱乐下载(简称航天节能)下属项目公司,由航天节能运营管理的BOT资源综合利用余热电厂,是西南地区第一座水泥余热发电厂,为双马珙县水泥厂提供环保节能服务。
为了进一步促进电站生产管理方式的转变和组织效率的提高,形成一套可复制可推广的智能运维技术体系与路径,支撑新能源发电站的智能化生态运维模式的探索与相关业务开展,我们多方考察,选用了“StaringWorld 智能运维系统”,进行企业数字化转型的初步尝试。在厂家和生产、技术各部门人员的密切配合下,项目顺利建设并调试完毕,各功能模块均满足现场要求,系统已正式投入运行。
一、项目目标
1、全面解决管理层、生产部门对于设备管理的的核心关切问题,实现一体化智能运维。
企业管理层:提升整体运维管理水平,让设备管理更好的服务于企业运营管理目标。
生产管理部门:提升设备运维管理水平并持续改进,实现最佳运维策略、避免异常停机、优化库存基线,避免设备对生产造成影响。
生产运行班组:应用全信息化的两票三制模式,规范工作流程、固化流程、标准。定期自动记录生产系统过程数据,提升全面的事件感知能力,实现敏捷和及时化响应。
检修班组:提升运维作业质量和效率,充分知识共享和作业指导,体现自我价值并激发创造性。
2、从传统运维模式逐渐过渡到数字化运维模式,聚焦“同步监控、动态分析、故障诊断、智能运维”;
3、建立信息化、可追溯化的作业流程,实现两票三制(工作票、操作票、交接班制、巡回检查制、设备定期轮换试验制)线上与线上融合、互通的新模式;
4、通过数字化转型,建立规范化的发电行业工作流程,固化流程、标准,提高作业效率,降低运营成本;
5、建立设备过程数据的定期自动记录汇总表,同时通过WEB端、移动端,全方位、实时的了解生产数据、设备运行数据;

二、系统构架

管理配置计算机:配置一台管理客户端计算机,用于进行基础数据采集、管理、作业程序创建、全局设置等工作。
平台服务端:部署系统服务端,包括数据库系统、数据传输服务等。
移动终端用户:设备运维人员的智能手机App端(安卓6.0版本及以上)通过移动网络进行作业程序、工单、事件、拍照等的下载、执行和上传。
Web客户端:设备资产模型、设备运维模型、两票三制管理、维修管理、事件管理、知识库管理、电站全局态势看板、定期报表等。


三、系统功能
1、设备台账模型
将设备信息按照现场的区域、功能、工艺段等方式汇总归类录入系统,使企业资产信息简洁明了,直观了解资产设备设施的实际情况。使现场设备管理实现数字化、透明化管理,为运维管理作业程序定制、执行标准化、管理标准化作基础和铺垫。
2、设备运维模型

3、智能运维作业管理
将现场运维作业的管理规范和制度、作业要求、检查内容、最佳实践等规范和标准建立在系统中,形成信息化、标准化、满足运维需要的智能运维作业程序,并让所有现场运维作业人员均按照统一标准进行各项现场作业。通过一致化的智能运维作业标准固化、共享和确保落地执行,并透明化的对整个作业记录和过程进行透明化追溯与审核,构建精益化的运维作业管理体系,构建持续改善的精益化运维管理模式。
3.1操作票

3.2工作票

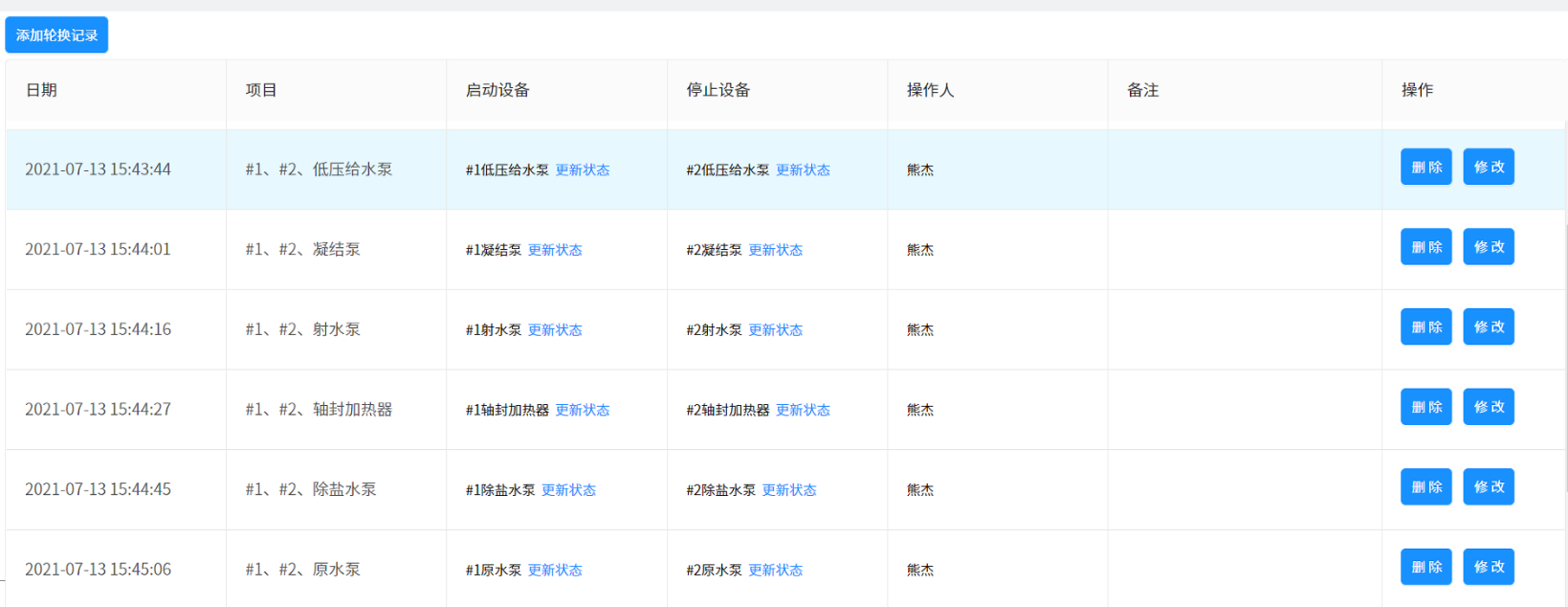
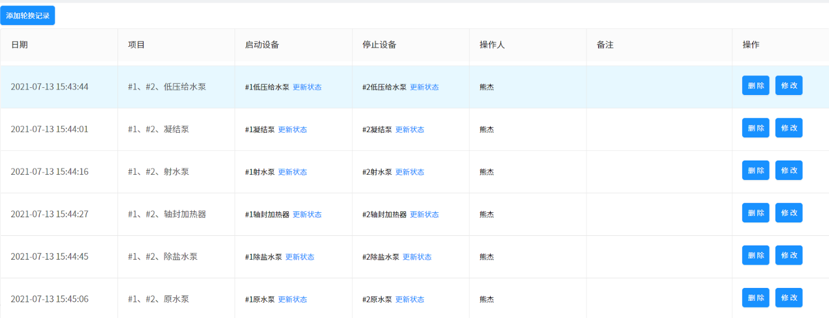
3.3设备定期轮换

3.4设备缺陷记录

3.5设备定期试验

3.6交接班

3.7设备巡检

3.8定期数据记录

3.9知识库

3.10生产数据看板
